Er is een patent opgedoken van Toyota waarin bijzondere techniek zichtbaar wordt. Men werkt namelijk, zo lijkt het, aan een auto die meer dan alleen voor- en achteruit kan rijden.
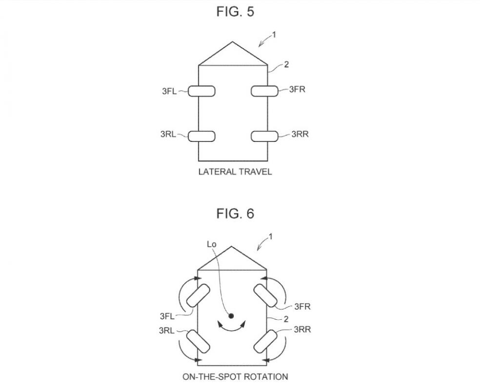
Er zijn natuurlijk al meer voertuigen die met alle vier de wielen kunnen sturen, maar de wijze waarop Toyota dat lijkt te gaan doen, is voor de gemiddelde consument nog wel toekomstmuziek. Er zijn op het Amerikaanse forum CybertruckTalk namelijk patentschetsen opgedoken die tonen dat de wielen los van elkaar zelfs zover kunnen draaien dat een volledig zijwaartse verplaatsing mogelijk is. De wielen lijken ook bij stilstand volledig om te kunnen draaien, zodat de rijrichting ook dan geheel naar opzij kan draaien. Diagonaal rijden behoort ook tot de mogelijkheden.
De vier wielen worden volgens de patentaanvraag allemaal aangedreven door hun eigen krachtbron. Ongetwijfeld gaat het dan dus om een EV met vier elektromotoren. Het is nog totaal onduidelijk wanneer en of we deze techniek in een Toyota gaan zien, maar dat die zal worden toegepast, lijkt voor de hand te liggen. Dergelijke techniek zou ideaal zijn voor stedelijk vervoer, vanwege de wendbaarheid en bijvoorbeeld het parkeren in kleine ruimtes. Wellicht iets voor een (semi-)autonome stadsauto? De tijd zal het leren.




