Ferrari patenteert V12 met bizarre cilinders
Compacter en efficiënter
Is een cilinder nog een cilinder als hij geen cilindervorm heeft? Die vraag is nog nooit relevant geweest als het om automotoren gaat, maar dat zou dankzij Ferrari weleens kunnen gaan veranderen.
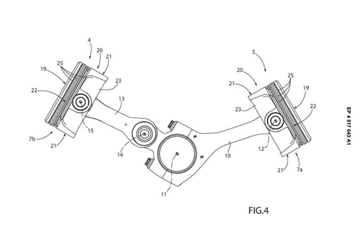
Verbrandingsmotoren met zuigers zijn er in vele vormen en maten, maar er is één overeenkomst: cilinders zijn rond. Daarom worden ze immers ook zo genoemd, maar kennelijk ziet Ferrari een mogelijkheid voor een zuiger, en daarmee ook ‘cilinder’, met een andere vorm. Autoguide.com ontdekte een patent in het European Patent Register (nummer 24197835.2) voor een verbrandingsmotor met zuigers met een ovaalvorm. Iedere zuiger heeft wel gewoon zijn eigen drijfstang en dat is een belangrijk verschil met mogelijk de enige andere verbrandingsmotor met ovaalvormige zuigers, die Honda in 1979 bedacht voor de NR500-motorfiets.
Evengoed is er een constructie bedacht met een gecombineerde drijfstang voor de daardoor kaarsrecht tegenover elkaar opgestelde cilinders in deze V-motor. Dat maakt de motor compacter, net als de vorm van deze zuigers zelf trouwens. Dankzij de typische vorm van de zuigers kan de motor immers worden ingekort, zonder ‘cilinder-oppervlakte’ in te leveren. Door het geavanceerde ‘scharnierpunt’ in de gecombineerde drijfstang kan bovendien worden gewerkt met variabele compressie, omdat de zuiger al naar gelang de omstandigheden wat verder of wat minder ver op en neer bewogen kan worden, om de motor zo optimaler te laten presteren onder verschillende omstandigheden.
Het is niet moeilijk om wild te speculeren bij het zien van zo’n bijzondere V12. Zo zou de compacte bouw van deze motor het mogelijk kunnen maken om weer een V12 achter de voerstoelen van een echte hypercar te proppen, al dan niet in combinatie met hybridetechniek. Het is echter allerminst zeker of deze motor daadwerkelijk zo in productie gaat. Wat het wel aantoont, is dat Ferrari op zoek is naar manieren om dit soort grote verbrandingsmotoren ook in de toekomst te laten voortbestaan. Goed nieuw voor wie zich niet zo kan vinden in de elektrificatieplannen, want die heeft Ferrari zeker ook.
Ontdek deze occasions: had je ze al gezien?
Lees ook

Slechts één elektrische Ferrari: ‘Koper wil ze niet’

Supercar met V12 op Ferrari-basis: dit is de Talos XXT

Ferrari maakt meer winst door hogere prijzen en maatwerk

Test: Ferrari 296 Speciale - Intenser, directer en met meer precisie dan dit kan niet




