Autonieuws

76.934 resultaten
Range Rover Sport Coupé op komst
Nieuws

Range Rover Sport Coupé op komst

Het omtoveren van een SUV tot een versie die het Coupé-label achter zijn naam krijgt geplakt is tegenwoordig geen zeldzaamheid...

14
Mercedes GLC-klasse F-Cell komt volgend jaar
Nieuws

Mercedes GLC-klasse F-Cell komt volgend jaar

Mercedes heeft zijn ogen gericht op een groene toekomst. De komende twee jaar investeert het merk meer dan 7 miljard in schonere...

33
Autopoetsen
Barrelbrigade

Autopoetsen

De afgelopen maanden hebben we onze barrels flink afgebeuld. Ondanks alles, zijn ze blijven rijden.

Porsche viert 40 jaar transaxle-modellen
Reportage

Porsche viert 40 jaar transaxle-modellen

Porsche viert dit jaar het veertigjarig bestaan van de Transaxle, een era dat in 1976 begon met de 9

'Mercedes toont elektrische SUV in Parijs'
Nieuws

'Mercedes toont elektrische SUV in Parijs'

Elektrische concept-cars zijn aan de orde van de dag, maar het exemplaar dat Mercedes-Benz naar verluidt op de Autosalon...

50
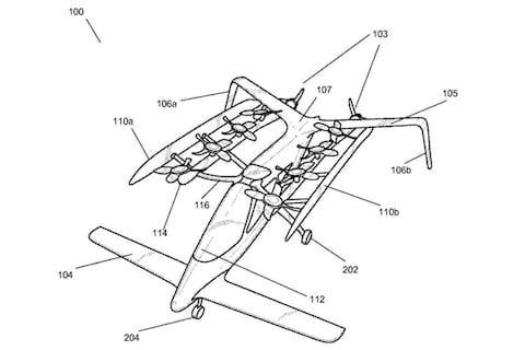
Larry Page investeert fors in vliegende auto
Nieuws

Larry Page investeert fors in vliegende auto

Larry Page, één van de oprichters van Google, investeert meer dan 100 miljoen euro in de ontwikkeling van vliegende auto’s....

13
BMW wint van Tesla in Californië
Nieuws

BMW wint van Tesla in Californië

In een aanbesteding die erop gericht was de politiemacht van Los Angeles van elektrische auto’s te voorzien, heeft BMW gewonnen...

45
Maserati herziet Quattroporte
Nieuws

Maserati herziet Quattroporte

Geen Facelift Friday, maar Facelift Monday vandaag. Na de herziene versie van Renault's Clio maken we nu kennis met een geretoucheerde...

85
'Audi SQ2 op komst'
Nieuws

'Audi SQ2 op komst'

De Audi Q2 is nog niet eens op de markt, maar nu al wordt er gefluisterd dat er een snelle SQ2-variant in de pijplijn zit....

45
Bovag: veel paardentrailers onveilig
Nieuws

Bovag: veel paardentrailers onveilig

De Bovag is geschrokken van het aantal paardentrailers dat volstrekt onveilig blijkt. Afgelopen zaterdag werden bij een controle...

50
130 km/h op gehele traject Utrecht-Amsterdam
Nieuws

130 km/h op gehele traject Utrecht-Amsterdam

Automobilisten kunnen sinds kort het gaspedaal wat verder intrappen op de A2 tussen Utrecht en Amsterdam. ´s Avonds en ´s...

66
Renault onderwerpt Clio aan facelift
Nieuws

Renault onderwerpt Clio aan facelift

Renault heeft de Clio aan een lichte facelift onderworpen. De auto krijgt ledverlichting rondom, anders vormgegeven bumpers...

99
Supershowroom: Mazda 3
Nieuws

Supershowroom: Mazda 3

Eind vorige maand liep alweer de vijf miljoenste Mazda 3 van de band. Reden voor een feestje! Dertien jaar geleden nam de...

49
In het wild: Renault 5 (1981)
Nieuws

In het wild: Renault 5 (1981)

Dennis van Santen is de held van vandaag, want hij voorziet ons van deze bijzonder fraaie Renault 5. Geen ‘supercinq’ deze...

52
Mercedes W123 recordpoging - AutoWeek on Tour
Nieuws

Mercedes W123 recordpoging - AutoWeek on Tour

Vandaag gaan we voor AutoWeek on Tour langs bij een uniek evenement. Op een groot terrein in het kleine Balkbrug proberen...

31
Curieuze Configuratie: Smart Fortwo Cabrio
Nieuws

Curieuze Configuratie: Smart Fortwo Cabrio

De meeste autofabrikanten bieden weliswaar een breed scala personalisatiemogelijkheden aan, maar letten er wel op dat je...

22
In het wild: MG ZT-T (2003)
Nieuws

In het wild: MG ZT-T (2003)

Drie jaar na het verschijnen van de Rover 75 besloot MG de ZT op de weg te zetten. Dankzij AutoWeek-lezer Bruno Vijverman...

15
Doorzaag-zaterdag: Autobianchi A112
Nieuws

Doorzaag-zaterdag: Autobianchi A112

Binnen het Fiat-concern is Autobianchi jarenlang een soort proeftuin waar naar hartenlust geëxperimenteerd kan worden. Soms...

35
De 7 ... weetjes over het logo van Alfa Romeo
Nieuws

De 7 ... weetjes over het logo van Alfa Romeo

Alfa Romeo heeft misschien wel het vreemdste en/of mooiste merklogo van alle automerken, maar wat betekenen al die details...

35
In het wild: Isuzu Bellett 1600 GT
Nieuws

In het wild: Isuzu Bellett 1600 GT

Vandaag een In het Wild met een gastoptreden. Dankzij AutoWeek-lezer Gijs van Oosten hebben we vandaag namelijk een Isuzu...

15