Ferrari Nieuws

796 resultaten
Vernieuwde 612 Scaglietti krijgt politie-escorte
Nieuws

Vernieuwde 612 Scaglietti krijgt politie-escorte

Ferrari voert iets in z’n schild. Onlangs betrapte een lezer al een 612 Scaglietti met een vreemde bult op de motorkap en...

46
Helemaal nieuw: de Ferrari 458 Italia!
Nieuws

Helemaal nieuw: de Ferrari 458 Italia!

De opvolger van de Ferrari F430 is los en hij heet 458 Italia. Op de IAA in Frankfurt kunnen we ‘m voor het eerst in het...

199
AutoWeek-lezer oog in oog met nieuwe Ferrari
Nieuws

AutoWeek-lezer oog in oog met nieuwe Ferrari

Waar onze lezers ook gaan, ze houden altijd hun ogen voor ons open. Rudy van Deventer was in Maranello en stond zowaar oog...

31
De echte Ferrari F450 in het openbaar
Nieuws

De echte Ferrari F450 in het openbaar

De opvolger van de Ferrari F430, de F450 was al gespot met een licht verbouwd F430-koetswerk, maar dit is de echte! Er zit...

53
Ferrari's op Goodwood
Nieuws

Ferrari's op Goodwood

Afgelopen weekend vond in het Engelse Goodwood weer het fameuze Festival of Speed plaats. Ferrari was present met drie...

15
Ferrari Scuderia Spider 16M opgepept
Nieuws

Ferrari Scuderia Spider 16M opgepept

Stel je bent een van de 499 gelukkigen die de Ferrari Scuderia Spider 16M heeft weten te bemachtigen, en na een tijdje bekruipt...

37
Likkebaarden bij fotoshow 599 GTB HGTE
Nieuws

Likkebaarden bij fotoshow 599 GTB HGTE

Een GT van Ferrari met een van de Enzo afgeleide V12 voorin; veel beter kan het niet worden, zou je zeggen. Ferrari onthulde...

79
Ferrari California van Edo Competition
Nieuws

Ferrari California van Edo Competition

De eerste Ferrari met direct ingespoten motor is getuned. Edo Competition heeft zich ontfermd over de 4.3 V8 van de California...

39
Ferrari F450 vol met F1-techniek
Nieuws

Ferrari F450 vol met F1-techniek

De Ferrari F430 loopt alweer een tijdje mee, maar een verouderde auto kun je 'm nog niet bepaald noemen. Z'n opvolger, de...

19
Hybride Ferrari onderweg
Nieuws

Hybride Ferrari onderweg

Binnenkort toont Ferrari een hybride showauto. Daarnaast onderzoekt het nog twee mogelijkheden voor 'vergroening' van het...

33
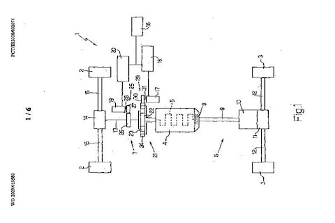
Het bewijs: Ferrari werkt aan hybride en 4WD
Nieuws

Het bewijs: Ferrari werkt aan hybride en 4WD

Het verhaal dat Ferrari werkt aan hybride-systemen om de CO2-uitstoot te reduceren doet al langer de ronde. Net als het gerucht...

20
Recordbedrag voor Ferrari 250 Testa Rossa
Nieuws

Recordbedrag voor Ferrari 250 Testa Rossa

In Maranello is afgelopen weekeinde deze Ferrari 250 Testa Rossa uit 1957 voor een recordbedrag geveild.

42
Speciale Ferrari voor aardbevingsgebied
Nieuws

Speciale Ferrari voor aardbevingsgebied

Ferrari gaat de laatst geproduceerde F430 veilen ten bate van de slachtoffers van de wederopbouw van de Abruzzo-regio, die...

32
Ferrari F450 vermomd als F430
Nieuws

Ferrari F450 vermomd als F430

Ferrari werkt aan de F450, de opvolger van de F430. We betrapten de auto nu ook met videocamera bij de hand. Onder de mule...

19
Ferrari 599XX in beeld
Nieuws

Ferrari 599XX in beeld

Er zijn meer foto’s opgedoken van de Ferrari 599XX, een raceversie van de normale 599. Die is voorzien van speciale techniek...

28
Flinke verbouwplannen voor Ferrari 612 Scaglietti
Nieuws

Flinke verbouwplannen voor Ferrari 612 Scaglietti

Daar is –ie weer: de gecamoufleerde Ferrari 612 Scaglietti. Een AutoWeek-lezer spotte ‘m al eerder, maar nu is het prototype...

35
Ferrari 612 Scaglietti: plaats voor schoon hart
Nieuws

Ferrari 612 Scaglietti: plaats voor schoon hart

Een autoliefhebber die op vakantie is in de buurt van Maranello moét natuurlijk even over de hekken loeren bij de Ferrari-fabriek....

49
Ferrari F450: krachtiger, lichter en groen
Nieuws

Ferrari F450: krachtiger, lichter en groen

Ferrari werkt onder de codenaam F142 aan de opvolger van de F430. Dat belooft wat!

29
Ferrari test hybride 599
Nieuws

Ferrari test hybride 599

Ferrari-baas Luca di Montezemolo heeft bevestigd dat er wordt getest met een hybride-systeem in een prototype op basis van...

37
Ferrari 599 Fiorano Handling GTE package
Nieuws

Ferrari 599 Fiorano Handling GTE package

Niet dat de standaard Ferrari 599 Fiorano nu zo beroerd rijdt – maar het kan natuurlijk altijd beter. Vandaar dat het GTE-pakket...

14